Sistema de acondicionamiento de aire de aeronaves
En este ejemplo se muestra un modelo de sistema de acondicionamiento de aire (ECS) de una aeronave, que regula la presión, la temperatura, la humedad y el ozono (O3) para mantener un ambiente cómodo y seguro en la cabina. El turborrefrigerador equipado (ACM) se encarga de la refrigeración y la deshumidificación. Funciona como un ciclo de Brayton inverso para eliminar el calor del aire extraído de motores calientes y presurizados. Parte del aire caliente extraído se mezcla directamente con la salida del ACM para ajustar la temperatura. La válvula de salida de la cabina mantiene la presurización. Este modelo simula la transición del ECS de una condición caliente en tierra a una condición fría en crucero y, vuelta a una condición fría en tierra.
Los modelos simples del compresor, la turbina y los intercambiadores de calor del ACM se implementan como componentes personalizados basados en la biblioteca Foundation > Moist Air de Simscape™.
Modelo

Bypass Flow Subsystem

Catalytic Converter Subsystem

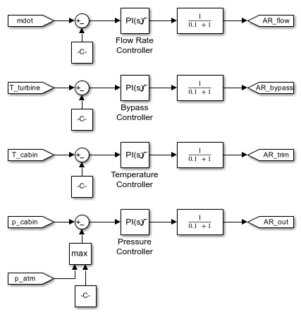
Controllers Subsystem

Engine Bleed Air Subsystem

Outflow Subsystem

Thermal & Moisture Loads Subsystem

Trim Air Flow Subsystem

Resultados de simulación a partir de scopes

Resultados de simulación a partir del registro de Simscape
Esta gráfica muestra el efecto de las válvulas que regulan el flujo de aire a través del sistema. A medida que la temperatura exterior disminuye, parte del flujo de aire se redirige para pasar por alto el compresor y la turbina. De ese modo, se evita que el flujo de salida de la turbina alcance temperaturas demasiado bajas. Además, parte del aire caliente extraído del motor se utiliza como aire de compensación para ajustar la temperatura del flujo de aire suministrado a la cabina.

Esta gráfica muestra cómo el turborrefrigerador equipado (ACM) elimina humedad del aire caliente.

Esta gráfica muestra los estados termodinámicos del flujo de aire en un diagrama de temperatura-entropía a medida que el turborrefrigerador equipado (ACM) enfría y deshumidifica la cabina. Se trata de un ciclo de Brayton inverso que extrae trabajo del aire presurizado extraído para enfriar el flujo de aire por debajo de la temperatura ambiente.

Esta gráfica muestra el esquema básico del compresor que usa el turborrefrigerador equipado (ACM) parametrizado por 3 coeficientes que controlan la forma y el espaciado de las líneas de velocidad corregidas.
